JCW-B-30t

Cân treo wifi JCW-B (30T) do CÔNG TY CỔ PHẦN CÂN ĐIỆN TỬ THỊNH PHÁT có địa chỉ trụ sở chính số 57 Đường Nguyễn Văn Thương, Phường 25, Quận Bình Thạnh, TP.Hồ Chí Minh nhập khẩu và phân phối, Quý khách có nhu cầu liên hệ điện thoại (028) 62.888.666 di động có zalo 0915.999.111 hoặc 0908.444.000, xin cảm ơn.

Model

JCW-B

Tên hàng

Cân treo wifi JCW-B (30t)

Tiêu chuẩn

OIML R76, ĐLVN 02:2009

Mức cân

30 000 kg

Độ đọc

10 kg

Hiển thị

LCD

Điều khiển

Remote từ xa bằng công nghệ sóng hồng ngoại

Phụ kiện

Tích hợp sẵn máy in

Nguồn

Sạc 220V/230VAC, 50-60Hz hoặc pin 6V/4Ah Ni-H
Giá: Liên hệ
Thông tin chi tiết
Cân treo wifi JCW-B
- Model: JCW-B
- Hãng sản xuất: Jadever
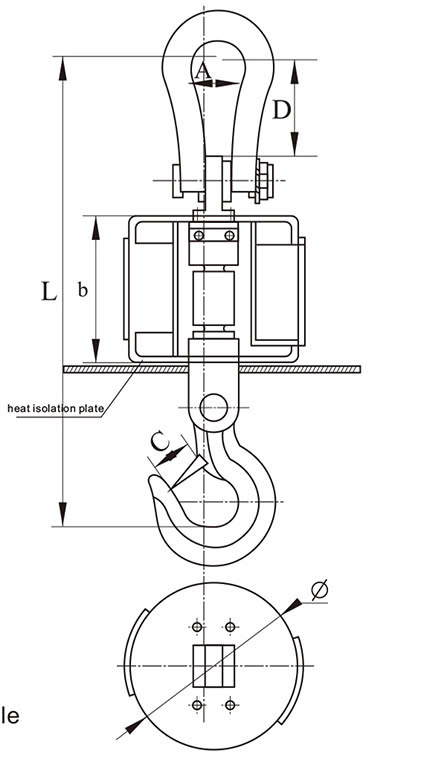
- Cân treo JCW-B (30 000 kg) là mẫu cân treo wifi thông dụng ứng dụng nhiều trong ngành công nghiệp với tiêu chuẩn an toàn cao, đặc biệt ứng dụng cho ngành sắt thép. Vỏ cân làm bằng thép rắn chắc, chống ăn mòn, chống được nước khi cân ngoài trời, chống chịu nhiệt, chống nhiễu tốt với các thiết bị khác nhằm tránh sai lệch giá trị cân.
- Cân đạt cấp chính xác III theo tiêu chuẩn OIML R76, cũng như tiêu chuẩn ĐLVN 02:2009 của Việt Nam.
Thông số kỹ thuật cân:
- Mức cân lớn nhất: Max = 30 000 kg
- Mức cân nhỏ nhất: Min = 200 kg
- Giá trị độ chia: d = 10 kg
- Giá trị độ chia kiểm: e = 10 kg
- Phạm vi đọc: (10 kg tới 30 000 kg)
- Đơn vị cân: kg, lb
- Chức năng: cân, trừ bì, giữ khối lượng cân ở trên cao
- Màn hình số hiển thị: LCD rõ, dễ đọc từ nhiều hướng và không bị mờ khi độ ẩm cao.
- Móc cân theo tiêu chuẩn công nghiệp nặng, xoay được 360º, chốt chặn chắc chắn
- Thiết kế theo kiểu dáng công nghiệp, tiện lợi khi sử dụng
- Thời gian ổn định: 3 giây
- Quá tải an toàn: 125% tải trọng cân
- Nhiệt độ hoạt động: -15ºC...55ºC
- Remote điều khiển từ xa bằng công nghệ sóng hồng ngoại, tầm kiểm soát 15m
- Tích hợp sẵn máy in phục vụ việc in ấn số liệu mỗi lần cân
- Bộ nhớ lưu trữ được 2800 dữ liệu
- Cân móc treo sử dụng tại tàu thủy, tàu biển, ngành công nghiệp gang thép, đúc tàu, đúc khuôn, luyện kim, công nghiệp khai mỏ, hóa chất, thiết bị sản xuất tự động, nhà máy chế biến lương thực, thực phẩm
- Nguồn điện: 220V/230VAC 50-60Hz hoặc pin 6V/4Ah Ni-H
- Pin sử dụng trong 150 giờ, sạc đầy trong vòng 8 tiếng
- Có đèn báo sạc đầy (chuyển từ đỏ sang vàng)
Cung cấp bao gồm:
- Cân treo hiệu JCW-B
- 220V/230VAC 50-60Hz hoặc pin 6V/4Ah Ni-H
- CO phòng thương mại, CQ hãng sản xuất (bản sao)
- Tài liệu hướng dẫn sử dụng (Tiếng Việt + Tiếng Anh)
- Sản xuất bởi: Jadever
- Nhập khẩu bởi: Cân Điện Tử Thịnh Phát
- Xuất xứ: Trung Quốc
Bảng thông số chi tiết:

Model

JCW-B

Tên hàng

Cân treo JCW-B (30t)

Mức cân

30 000 kg

Độ đọc

10 kg

Tiêu chuẩn

OIML R76, ĐLVN 02:2009

Hiển thị

LCD

Điều khiển

Remote từ xa bằng công nghệ sóng hồng ngoại

Phụ kiện

Tích hợp sẵn máy in phục vụ in ấn sau mỗi lần cân

Đơn vị cân 

kg, lb

Chức năng

Cân, trừ bì, giữ khối lượng cân trên cao

Quá tải an toàn

125% tải trọng cân

Nhiệt độ hoạt động

-15°C...55°C

Thời gian ổn định

3 giây

Nguồn

220V/230VAC 50-60Hz hoặc pin 6V/4Ah Ni-H
Tài liệu kỹ thuật

Sản phẩm tương tự

Sản phẩm bán chạy
Miễn phí
giao hàng
Giá
cạnh tranh
Hàng
chính hãng
Hỗ trợ
kỹ thuật 24/7